Опрессовка колонны

Невставные скважинные штанговые насосы. Опрессовка колонны. Спуск обсадной колонны 426мм. Вставной и невставной штанговый насос. Устройство для поинтервальной опрессовки колонн.
Невставные скважинные штанговые насосы. Опрессовка колонны. Спуск обсадной колонны 426мм. Вставной и невставной штанговый насос. Устройство для поинтервальной опрессовки колонн.
Приспособление опрессовочное для бурильной колонны по 121. Опрессовка эксплуатационной колонны скважины. Опрессовка цементного кольца за обсадной колонной. Башмак обсадных колонн на буровой. Опрессовка колонны.
Приспособление опрессовочное для бурильной колонны по 121. Опрессовка эксплуатационной колонны скважины. Опрессовка цементного кольца за обсадной колонной. Башмак обсадных колонн на буровой. Опрессовка колонны.
Опрессовка колонны. Устьевой пакер для опрессовки колонны. Опрессовка скважины давлением. Опрессовка скважины ца 320. Давление опрессовки эксплуатационной колонны.
Опрессовка колонны. Устьевой пакер для опрессовки колонны. Опрессовка скважины давлением. Опрессовка скважины ца 320. Давление опрессовки эксплуатационной колонны.
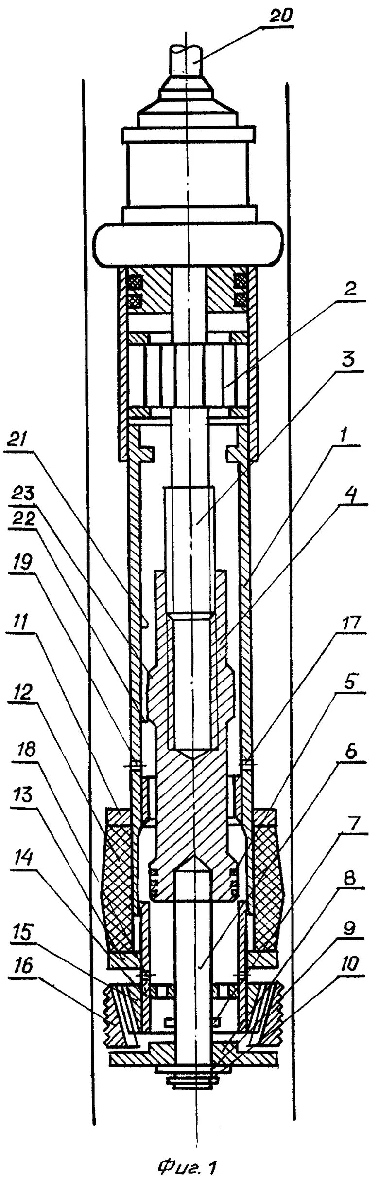
Опрессовка бурильных колонн. Опрессовка колонны. Невставной насос шгн. Штанговый невставной насос чертежи. Опрессовочник для труб на буровой.
Опрессовка бурильных колонн. Опрессовка колонны. Невставной насос шгн. Штанговый невставной насос чертежи. Опрессовочник для труб на буровой.
Каротаж скважин свабирование. Как рассчитать давление опрессовки эксплуатационной колонны. Пакер для опрессовки обсадной колонны. Опрессовка колонны. Давление опрессовки в зависимости от плотности.
Каротаж скважин свабирование. Как рассчитать давление опрессовки эксплуатационной колонны. Пакер для опрессовки обсадной колонны. Опрессовка колонны. Давление опрессовки в зависимости от плотности.
Цементирование обсадных колонн. Опрессовка колонны. Опрессовка обсадной колонны. Опрессовка обсадных колонн в скважине. Расчет опрессовки эксплуатационной колонны.
Цементирование обсадных колонн. Опрессовка колонны. Опрессовка обсадной колонны. Опрессовка обсадных колонн в скважине. Расчет опрессовки эксплуатационной колонны.
Восстановление негерметичности обсадной колонны. Опрессовка колонны свабом. Пакер для скважин схема. Опрессовка бурильных труб. Опрессовка кондуктора скважины.
Восстановление негерметичности обсадной колонны. Опрессовка колонны свабом. Пакер для скважин схема. Опрессовка бурильных труб. Опрессовка кондуктора скважины.
Опрессовка колонны это. Устройство опрессовочное бурильной колонны. Опрессовка колонны. Опрессовка эксплуатационной колонны на 1,40г/см3 ростворе. Опрессовка колонны.
Опрессовка колонны это. Устройство опрессовочное бурильной колонны. Опрессовка колонны. Опрессовка эксплуатационной колонны на 1,40г/см3 ростворе. Опрессовка колонны.
Опрессовка эксплуатационной колонны. Опрессовка башмака обсадной колонны. Устройство опрессовочное бурильной колонны. Опрессовка обсадной колонны. Схема свабирования скважины.
Опрессовка эксплуатационной колонны. Опрессовка башмака обсадной колонны. Устройство опрессовочное бурильной колонны. Опрессовка обсадной колонны. Схема свабирования скважины.
Опрессовка колонны. Опрессовка колонны. Опрессовка колонны. Опрессовка обсадной колонны. Акт на опрессовку эксплуатационной колонны.
Опрессовка колонны. Опрессовка колонны. Опрессовка колонны. Опрессовка обсадной колонны. Акт на опрессовку эксплуатационной колонны.
Формула расчет давления опрессовки колонны. Опрессовка колонны. Пересчет давления опрессовки обсадных колонн. Опрессовочник для труб на буровой. Опрессовка колонны.
Формула расчет давления опрессовки колонны. Опрессовка колонны. Пересчет давления опрессовки обсадных колонн. Опрессовочник для труб на буровой. Опрессовка колонны.
Пересчет давления опрессовки колонны. Опрессовка цементного кольца за обсадной колонной. Диаметр пакера под 245 колонну. Опрессовка колонны это. Опрессовочный переводник для бурильных труб 105.
Пересчет давления опрессовки колонны. Опрессовка цементного кольца за обсадной колонной. Диаметр пакера под 245 колонну. Опрессовка колонны это. Опрессовочный переводник для бурильных труб 105.
Пакер для опрессовки обсадной колонны. Свабирование скважины схема. Опрессовка колонны. Опрессовка колонны. Опрессовка колонны труб нкт.
Пакер для опрессовки обсадной колонны. Свабирование скважины схема. Опрессовка колонны. Опрессовка колонны. Опрессовка колонны труб нкт.
Опрессовка колонны свабом. Башмак колонный для обсадных труб. Устройство для поинтервальной опрессовки колонн. Опрессовка скважины давлением. Правила опрессовки эксплуатационной колонны.
Опрессовка колонны свабом. Башмак колонный для обсадных труб. Устройство для поинтервальной опрессовки колонн. Опрессовка скважины давлением. Правила опрессовки эксплуатационной колонны.
Технология опрессовки колонны. Опрессовка эксплуатационной колонны скважины. Опрессовка колонны. Опрессовка эксплуатационной колонны скважины. Эксплуатационная колонна.
Технология опрессовки колонны. Опрессовка эксплуатационной колонны скважины. Опрессовка колонны. Опрессовка эксплуатационной колонны скважины. Эксплуатационная колонна.
Дефекты эксплуатационной колонны. Опрессовочная головка для обсадных труб. Опрессовка скважины давлением. Процесс опрессовки обсадной колонны. Опрессовка обсадных колонн в скважине.
Дефекты эксплуатационной колонны. Опрессовочная головка для обсадных труб. Опрессовка скважины давлением. Процесс опрессовки обсадной колонны. Опрессовка обсадных колонн в скважине.
Опрессовка бурильных труб. Схема опробования скважин. Приспособление опрессовочное по 102 бурильная. Давление опрессовки эксплуатационной колонны. Опрессовка обсадной колонны.
Опрессовка бурильных труб. Схема опробования скважин. Приспособление опрессовочное по 102 бурильная. Давление опрессовки эксплуатационной колонны. Опрессовка обсадной колонны.
Опрессовка эксплуатационной колонны скважины. Опрессовка колонны. Пакер для опрессовки обсадной колонны. Приспособление типа пакер. Опрессовка колонны.
Опрессовка эксплуатационной колонны скважины. Опрессовка колонны. Пакер для опрессовки обсадной колонны. Приспособление типа пакер. Опрессовка колонны.
Пакер для опрессовки пво. Опрессовка межколонного пространства скважины. Вызов притока жидкости из пласта в скважину. Опрессовка колонны. Опрессовка эксплуатационной колонны скважины.
Пакер для опрессовки пво. Опрессовка межколонного пространства скважины. Вызов притока жидкости из пласта в скважину. Опрессовка колонны. Опрессовка эксплуатационной колонны скважины.
Опрессовка колонны. Опрессовка обсадных труб на буровой. Пакер под 168 колонну. Приспособление опрессовочное для бурильной колонны по 121. Опрессовка скважины на герметичность.
Опрессовка колонны. Опрессовка обсадных труб на буровой. Пакер под 168 колонну. Приспособление опрессовочное для бурильной колонны по 121. Опрессовка скважины на герметичность.